LM3532TMX-40A/NOPB 供应商
-
LM3532TMX-40A/NOPB
品牌:TI 封装/批号:原厂原装/22+ -
LM3532TMX-40A/NOPB
品牌:TI/德州仪器 封装/批号:DSBGA/21+
LM3532TMX-40A/NOPB 属性参数
- 制造商:National Semiconductor (TI)
- 封装:Reel
- 工厂包装数量:3000
产品特性
- Drives up to 3 Parallel High-Voltage LED Strings at 40 V Each With up to 90% Efficiency
- 0.4% Typical Current Matching Between Strings
- 256 Level Logarithmic and Linear Brightness Control With 14-Bit Equivalent Dimming
- I2C-Compatible Interface
- Direct Read Back of Ambient Light Sensor Via 8-bit ADC
- Programmable Dual Ambient Light Sensor Inputs With Internal Sensor Gain Selection
- Dual External PWM Inputs for LED Brightness Adjustment
- Independent Current String Brightness Control
- Programmable LED Current Ramp Rates
- 40-V Overvoltage Protection
- 1-A Typical Current Limit
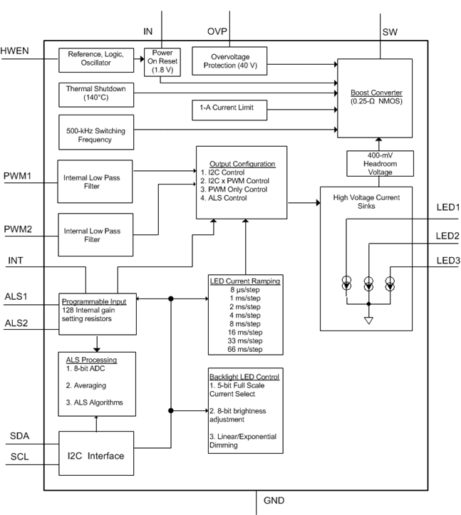
产品概述
The LM3532 is a 500-kHz fixed frequency asynchronous boost converter which provides the
power for 3 high-voltage, low-side current sinks. The device is programmable over an
I2C-compatible interface and has independent current control for all
three channels. The adaptive current regulation method allows for different LED currents in each
current sink thus allowing for a wide variety of backlight and keypad applications.The main features of the LM3532 include dual ambient light sensor inputs each with 32
internal voltage setting resistors, 8-bit logarithmic and linear brightness control, dual external
PWM brightness control inputs, and up to 1000:1 dimming ratio with programmable fade in and fade
out settings.The LM3532 is available in a 16-pin, 0.4-mm pitch thin DSBGA package. The device operates
over a 2.7-V to 5.5-V input voltage range and the −40°C to +85°C temperature range.
LM3532TMX-40A/NOPB 电路图